![]() |
| Facebookがモジュール式デバイスの特許を申請!新たなデバイスを開発中か |
Facebookがモジュール式デバイスの特許を申請したことが分かりました。米国特許商標庁(United States Patent and Trademark Office:USPTO)は20日(現地時間)、Facebookが申請した特許情報を公開しています。
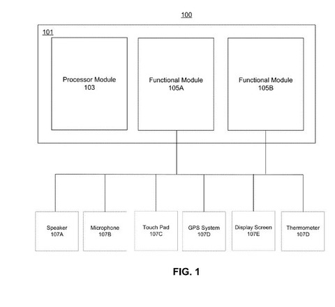
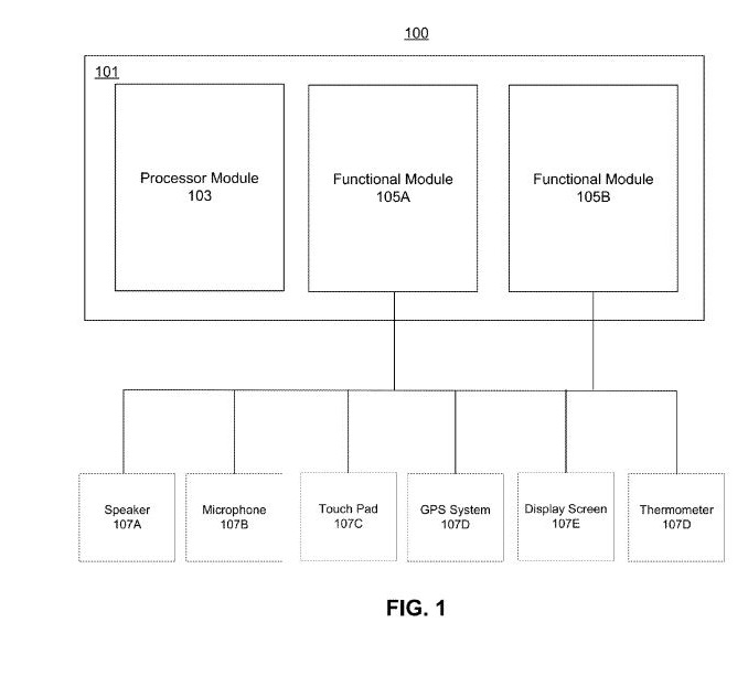
特許申請の内容を確認すると、シャーシにProcessor ModuleとFunctional Moduleを搭載していることからチップセット(SoC)ですら交換できるという徹底ぶりが伺えます。さらにFunctional Moduleには、スピーカーやマイク、タッチパッド、GPS、ディスプレイ、温度計などのセンサーもモジュールかされているようです。
FacebookがOculusを買収して、VR用デバイスであるOculus Riftを引っさげてデバイス業界に乗り込んで久しいですが、新たにモバイルデバイスも開発してさらににその業務範囲の拡大を画策しているのでしょうか。
モジュール式のモバイルデバイスと聞くと、Googleの野心的なプロジェクトである「Project Ara」を彷彿とさせます。非常に興味深いプロジェクトでしたが、残念ながら2016年にプロジェクトの中止が明らかになっています。
一方で、FacebookはProject Araを担当していた元GoogleのATAPチームのリーダーであるレジーナ・デューガン氏を2016年4月に引き抜いて、ハードウェア開発の研究チーム「Building 8」の責任者に迎えてるという面白い事実関係も存在しています。
Googleではプロジェクト中止といわば失敗に終わってしまったモジュール式デバイスですが、Facebookで返り咲く日は来るのでしょうか。非常に楽しみですね!
記事執筆:YUKITO KATO
■関連リンク
・エスマックス(S-MAX)
・エスマックス(S-MAX) smaxjp on Twitter
・S-MAX - Facebookページ
・US 20179298700 A1 - United States Patent and Trademark Office
・Facebook is exploring modular smartphones, patent shows - Android Authority






















